PVC塑料球阀
PVC塑料球阀适用于带腐蚀性介质的输送过程的截流,根据不同材质温度-14℃~100℃、-40℃~140℃。密封圈采用F4。耐腐性能优异,延长使用寿命。转动灵活、使用方便。整体式球阀泄漏点少,强度高,连接式球阀装拆方便。
|
产品名称: |
塑料球阀 |
产品型号: |
Q41F-10S |
|
公称通径: |
DN15~DN200 |
结构形式: |
球形 |
|
公称压力: |
1.6Mpa~4.0Mpa |
连接方式: |
法兰、外螺纹、承插焊 |
|
适用温度: |
-20ºC~+180ºC~425ºC~550ºC |
驱动方式: |
手动、电动、气动 |
|
阀体材质: |
PVDF、CPVC、UPVC、PVC、RPP 、ABS |
制造标准: |
国标GB、德国DIN、美国API、ANSI |
|
适用介质: |
水、油、气体、腐蚀性液体等 |
生产厂家: |
华体会平台_华体会(中国)一站式服务平台, |
产品说明
PVC塑料球阀适用于带腐蚀性介质的输送过程的截流,根据不同材质温度-14℃~100℃、-40℃~140℃。密封圈采用F4。耐腐性能优异,延长使用寿命。转动灵活、使用方便。整体式球阀泄漏点少,强度高,连接式球阀装拆方便。 球阀的安装使用: 两端法兰与管路连接时,要均匀拧紧螺栓,防止法兰变形造成泄漏。 顺时针方向旋转手柄为关闭,反之为开启。只可作断流、通流,不宜有流量调节。 含硬颗粒液体容易使球表面划伤。全部零件可采用FRPP、PVDF、CPVC、UPVC、PVC、RPP 、ABS注塑件组装成型,耐腐蚀性能优良。
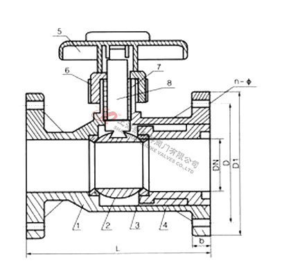
零件材质表
|
NO |
名称 |
材质 |
|
1 |
阀体 |
FRPP、PVDF、CPVC、UPVC、PVC、RPP 、ABS |
|
2 |
球 |
FRPP、PVDF、CPVC、UPVC、PVC、RPP、ABS |
|
3 |
密封圈 |
PTER、F4 |
|
4 |
内塞 |
FRPP、PVDF、CPVC、UPVC、PVC、RPP |
|
5 |
手柄 |
ABS |
|
6 |
压紧螺母 |
FRPP、PVDF、CPVC、UPVC、PVC、RPP 、ABS |
|
7 |
密封 |
PTER、F4 |
|
8 |
阀杆 |
FRPP、PVDF、CPVC、UPVC、PVC、RPP、ABS |
外形结构图
主要外形连接尺寸
|
DN |
D1 |
D |
L |
d |
n |
¢ |
公称压力 |
|
HG |
JIS |
DIN |
ANSI |
HG |
JIS |
DIN |
ANSI |
HG |
JIS |
DIN |
ANSI |
PVDF |
RPP |
|
15 |
95 |
65 |
70 |
65 |
60 |
100 |
14 |
4 |
4 |
4 |
4 |
14 |
15 |
14 |
16 |
1.2 |
1 |
|
20 |
105 |
75 |
75 |
75 |
70 |
120 |
16 |
4 |
4 |
4 |
4 |
14 |
15 |
14 |
16 |
1.2 |
1 |
|
25 |
115 |
85 |
90 |
85 |
80 |
140 |
16 |
4 |
4 |
4 |
4 |
14 |
19 |
14 |
16 |
1.2 |
1 |
|
32 |
135 |
100 |
|
|
|
160 |
16 |
4 |
|
|
|
18 |
|
|
|
1.2 |
1 |
|
40 |
145 |
110 |
105 |
110 |
98 |
165 |
16 |
4 |
4 |
4 |
4 |
18 |
19 |
18 |
16 |
1.2 |
1 |
|
50 |
160 |
125 |
120 |
125 |
120 |
180 |
18 |
4 |
4 |
4 |
4 |
18 |
19 |
18 |
19 |
1.2 |
1 |
|
65 |
180 |
145 |
140 |
145 |
140 |
220 |
22 |
4 |
4 |
4 |
4 |
18 |
19 |
18 |
14 |
1.2 |
1 |
|
80 |
195 |
160 |
150 |
160 |
152 |
250 |
25 |
4 |
8 |
8 |
4 |
18 |
19 |
18 |
14 |
1.2 |
1 |
|
100 |
215 |
160 |
175 |
180 |
190 |
280 |
25 |
8 |
8 |
8 |
8 |
18 |
19 |
18 |
19 |
1.2 |
1 |
|
125 |
245 |
210 |
210 |
210 |
216 |
320 |
30 |
8 |
8 |
8 |
8 |
18 |
23 |
18 |
22 |
1 |
0.8 |
|
150 |
280 |
240 |
240 |
240 |
240 |
360 |
30 |
8 |
8 |
8 |
8 |
23 |
23 |
23 |
22 |
1 |
0.8 |
|
200 |
335 |
295 |
295 |
295 |
298 |
400 |
35 |
8 |
12 |
8 |
8 |
23 |
23 |
23 |
22 |
0.8 |
0.8 |
|
250 |
395 |
350 |
355 |
350 |
362 |
500 |
38 |
12 |
12 |
12 |
12 |
23 |
23 |
23 |
22 |
0.8 |
0.6 |
|
300 |
455 |
400 |
400 |
400 |
432 |
600 |
40 |
12 |
16 |
12 |
12 |
23 |
25 |
23 |
25 |
0.8 |
0.5 |
注:可配电动执行器或气动执行器。
零件材质表
|
NO |
名称 |
材质 |
|
1 |
阀体 |
FRPP、PVDF、CPVC、UPVC、PVC、RPP 、ABS |
|
2 |
球 |
FRPP、PVDF、CPVC、UPVC、PVC、RPP 、ABS |
|
3 |
压紧 |
FRPP、PVDF、CPVC、UPVC、PVC、RPP 、ABS |
|
4 |
接头(螺口,承接) |
FRPP、PVDF、CPVC、UPVC、PVC、RPP 、ABS |
|
5 |
拼紧螺帽 |
FRPP、PVDF、CPVC、UPVC、PVC、RPP 、ABS |
|
6 |
密封圈 |
PTER、F4 |
|
7 |
手柄 |
ABS |
|
8 |
阀杆 |
FRPP、PVDF、CPVC、UPVC、PVC、RPP 、ABS |
|
9 |
O型密封圈 |
EPDM.FPM |
|
10 |
O型密封圈 |
EPDM.FPM |
|
11 |
O型密封圈 |
EPDM.FPM |
|
12 |
密封圈 |
EPDM.FPM |
外形结构图
主要外形连接尺寸
|
DN |
ZG |
D |
L |
L1 |
工作压力
(Mpa) |
重量=Kg/台 |
|
FRPP |
CPVC |
PVDF |
|
15 |
1/2" |
20 |
100 |
15 |
0.6 |
0.15 |
0.25 |
0.25 |
|
20 |
3/4" |
25 |
120 |
17 |
0.6 |
0.2 |
0.28 |
0.35 |
|
25 |
1" |
33 |
135 |
20 |
0.6 |
0.3 |
0.4 |
0.5 |
|
32 |
1 1/4" |
40 |
150 |
23 |
0.6 |
0.5 |
0.65 |
0.8 |
|
40 |
1 1/2" |
50 |
170 |
25 |
0.6 |
0.6 |
1.0 |
1.15 |
|
50 |
2" |
63 |
200 |
28 |
0.6 |
1.0 |
1.65 |
1.85 |
|
65 |
2 1/2" |
75 |
215 |
32 |
0.5 |
1.5 |
2.2 |
2.5 |
|
80 |
3" |
90 |
265 |
35 |
0.4 |
2.2 |
3.7 |
4.2 |
|
100 |
4" |
110 |
360 |
45 |
0.4 |
3.0 |
6.1 |
6.8 |
声明:【PVC塑料球阀】规格型号、结构尺寸由华体会平台_华体会(中国)一站式服务平台,提供,如何选择适用的PVC塑料球阀产品,使之在工艺控制中安全可靠、经济适用,可致电我司销售部门及技术部门,我们将在最短的时间内为您解答! |